Fixing tie for edge, outside serrated, ⌀4.0-45.0mm, black, 500pcs.
Številka proizvoda 156-00570
| T50ROSEC4A-PA66W-BK
|
Copied
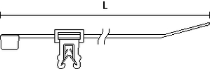
- Pre-assembled 2-piece fixing tie with EdgeClip
- Cable tie head can be moved after bundling
- EC9, EC10, EC21 and EC22 are for minimum bundle diameters of 1 mm
- For edges of 1 - 3 mm
Zahtevajte svojo individualno ponudbo zdaj
Zahtevajte ponudbo
More products in this product group:
| Application | These cable ties and EdgeClip assemblies are ideal for use where holes are not acceptable or where due to temperature problems adhesives will fail. These assemblies are widely used for fixing and bundling cables, pipes and hoses within the automotive industry, harness making, panel building and electrical industry. |
| Colour | Black (BK) |
| Description |
Available with either 'inside' or 'outside' serrated ties these two piece assemblies simply push onto an edge with thicknesses from 1.0 to 3.0mm. The high 'pull off' forces are due to the integrated metal clamp. Different EdgeClip variations are available. One version allows for cables to run parallel to the edge, whilst another allows for installation at 90 degrees to the edge. The clip is simply pushed on by hand and held firmly in place by the integrated metal clamp. No fixing hole is necessary. Combined with the outside serrated (OS) ties, specially designed to protect cables from chafing and wear, the EdgeClip family provides an excellent fastening solution. |
| Fixation Method | EdgeClip, top, assembled, 2 piece |
| Identification Plate Position | none |
| Material | Polyamide 6.6, UV-resistant (PA66W) |
| Min.Tensile Strength | 225N |
| PART DESCRIPTION | T50ROSEC4A-PA66W-BK |
| Package Content | 500pcs. |
| Package Content packed in | bag |
| Product Family | EdgeClip-Series, 1.0 - 3.0 mm, top fixing |
| Product Group | 2-piece fixing ties for edges |
| Releasable Closure (Yes/No) | No |
| Short Description | 2-piece fixing tie with edge clip 200x4.6 mm, UV-resistant, black |
| Type | T50ROSEC4A |
| UV-Stabilised | Yes |
| Variant | Outside Serrated |
| Weight/Unit | 0.0029kg |
|
|
|
| Country of Origin | DE |
| Customs Number | 39269097 |
| GTIN-13 / EAN | 4031026328874 |
| Packaging 1 - Height (m) | 0.05m |
| Packaging 1 - Length (m) | 0.12m |
| Packaging 1 - Qty | 500 |
| Packaging 1 - Type | bag |
| Packaging 1 - Volume (m³) | 0.00186m³ |
| Packaging 1 - Weight (kg) | 1.486664kg |
| Packaging 1 - Width (m) | 0.31m |
| Packaging 3 - Height (m) | 0.368m |
| Packaging 3 - Length (m) | 0.584m |
| Packaging 3 - Qty | 4000 |
| Packaging 3 - Type | box |
| Packaging 3 - Volume (m³) | 0.083m³ |
| Packaging 3 - Weight (kg) | 12.713312kg |
| Packaging 3 - Width (m) | 0.386m |
| Packaging 4 - Height (m) | 1.248m |
| Packaging 4 - Length (m) | 1.2m |
| Packaging 4 - Qty | 48000 |
| Packaging 4 - Type | pallet |
| Packaging 4 - Volume (m³) | 1.198m³ |
| Packaging 4 - Weight (kg) | 173.592kg |
| Packaging 4 - Width (m) | 0.8m |
Argentina
Australia
Brazil
Bulgaria
China
Czech Republic
Denmark
Finland
France
Germany
Hungary
India
Italy
Netherlands
North America
Norway
Poland
Portugal
Romania
Russia
Singapore
Slovenia
South Africa
South Korea
Spain
Sweden
Switzerland
Türkiye
United Arab Emirates
United Kingdom


Prenos







MK20
110-20006
MK10-SB
110-10001
EVO7i
110-77001
EVO7iSP
110-77002
MK7P
110-07100
ProCut 9 no battery
104-10010
EVO9i
110-88001
EVO9iSP
110-88002
T50SOSEC13E-PA66HS-BK
126-00000
T50SOSEC12E-PA66HS-BK
148-00200
T50ROSEC4A-PA66HS/PA66HIRHS-BK
150-02404
T50ROSEC4B-PA66HS/PA66HIRHS-BK
150-76079
T30REC4B-PA66HS/PA66HIRHS-BK
150-76080
T30REC4A-PA66HS/PA66HIRHS-BK
150-76090
T50REC4A-PA66HS/PA66HIRHS-BK
150-76091
T50SOSEC4A-PA66HS/PA66HIRHS-BK
150-76093
T18REC9SD-PA66HS/PA66HIRHS-BK
155-37104
T18REC10SD-PA66HS/PA66HIRHS-BK
155-38304
T50REC4B-PA66HS/PA66HIRHS-BK
156-00009
T50SOSEC10-PA66HS/PA66HIRHS-BK
156-00015
T50SOSEC4B-PA66HS/PA66HIRHS-BK
156-00109
T50ROSEC4B-PA46-GY
156-00782